Röntgenrör: Ny produkt Annoucement

2025-09-02 - Lämna ett meddelande till mig

High Hope Inc. är mycket stolt över att tillkännage vår nyutveckladeRöntgenrör—— XC 24.


Specifikationer:

P/n
Nominell spänning Målvinkel Fokalplats Anodvärmelagringskapacitet Max anod värmeavledningshastighet Skärmning
Xc24 100 kV 15 ° 1,0 mm 45 Zone's (31,5 kJ) 19.4 Zone's / min glasfiber/ bly


Testning:

P/n
Högspänningstest 1 Högspänningstest 2 Exponeringstest
Xc24 100 kV / 1 mA / 10 min 110 kV / 1 mA / 15 min 100 kV / 15 mA / 3 sek



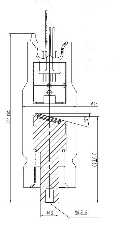
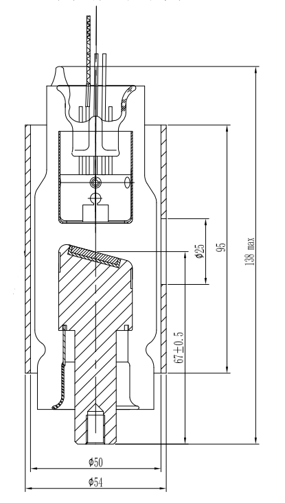
Skissera:

Utan skärmning (ovan)


Med skärmning (ovan)

Fiberglas: φ 54

bly: φ 58


Skicka förfrågan

X
Vi använder cookies för att ge dig en bättre webbupplevelse, analysera webbplatstrafik och anpassa innehåll. Genom att använda denna sida godkänner du vår användning av cookies. Sekretesspolicy